欢迎来到 临澧县检察院 !
无障碍阅读
繁体版
返回主站
您的位置: 首页 >检察工作流程>详细内容

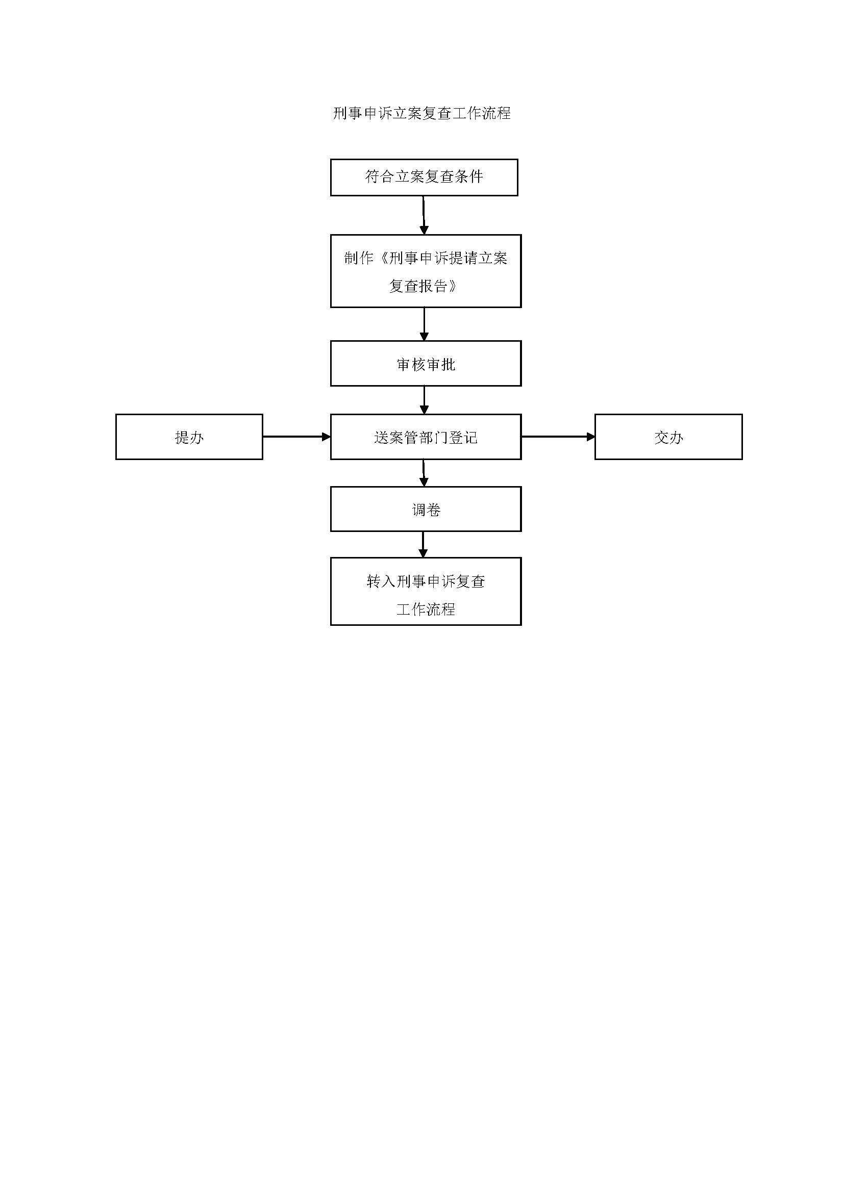
刑事申诉立案复查工作流程
刑事申诉立案复查工作流程

来源:办公室 发布时间:2018-07-16 19:06:33 浏览次数: 【字体:

刑事申诉立案复查工作流程

 

扫一扫在手机打开当前页
分享到:
【打印正文】